Product Summary
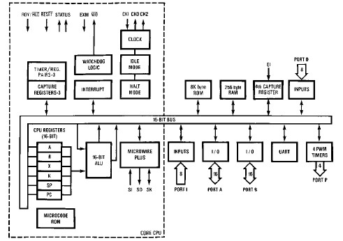
The HPC46003V20 is a high-performance microcontroller. All system timing, internal logic, ROM, RAM, and I/O are provided on the chip to produce a cost effective solution for high performance applications. On-chip functions such as UART, up to eight 16-bit timers with 4 input capture registers, vectored interrupts, WATCHDOGTM logic and MICROWIRE/PLUSTM provide a high level of system integration. The HPC46003V20 results in very low current drain and enables the user to select the optimum speed/power product for his system.
Parametrics
HPC46003V20 absolute maximum ratings: (1)Total Allowable Source or Sink Current: 100 mA; (2)Storage Temperature Range: -65℃ to +150℃; (3)Lead Temperature (Soldering, 10 sec): 300℃; (4)VCC with Respect to GND: -0.5V to 7.0V; (5)All Other Pins: (VCC + 0.5)V to (GND - 0.5)V.
Features
HPC46003V20 features: (1)UART-full duplex, programmable baud rate; (2)Four additional 16-bit timer/counters with pulse width modulated outputs; (3)Four input capture registers; (4)52 general purpose I/O lines (memory mapped); (5)8k bytes of ROM, 256 bytes of RAM on chip; (6)Commercial (0℃ to +70℃), industrial (-40℃ to +85℃), automotive (-40℃ to +105℃) and military(-55℃ to +125℃) temperature ranges.
Diagrams

| Image | Part No | Mfg | Description | ![]() |
Pricing (USD) |
Quantity | ||||||||||||
|---|---|---|---|---|---|---|---|---|---|---|---|---|---|---|---|---|---|---|
![]() |
![]() HPC46003V20 |
![]() National Semiconductor (TI) |
![]() 16-bit Microcontrollers (MCU) |
![]() Data Sheet |
![]()
|
|
||||||||||||
![]() |
![]() HPC46003V20/63 |
![]() National Semiconductor (TI) |
![]() 16-bit Microcontrollers (MCU) |
![]() Data Sheet |
![]()
|
|
||||||||||||
![]() |
![]() HPC46003V20/NOPB |
![]() National Semiconductor (TI) |
![]() 16-bit Microcontrollers (MCU) |
![]() Data Sheet |
![]()
|
|
||||||||||||
![]() |
![]() HPC46003V20/63SN |
![]() National Semiconductor (TI) |
![]() 16-bit Microcontrollers (MCU) |
![]() Data Sheet |
![]()
|
|
||||||||||||
(China (Mainland))










